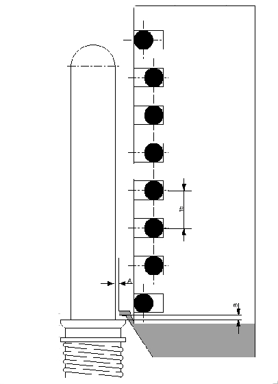
119 -  15 mm pitch oven racks for IR lamps
    
            
                      
  
          
  Description
Modifications in order to reduce lamp pitch from 19mm to 15 mm.
Key message
Improve heating
        Machine application
Blowers S1- SBO 4/4 - SBO 6/6 - SBO 10/10 - SBO 16 - SBO 24/26
Benefits
- Allow to adjust heating profile to preform dimensions.
- Allow to concentrate the heating power on smaller area in case of blowing short and light preforms (8 heating zones).
- Increase heating power by 25% when long and heavy preforms are blown (in this case, two extra zones are added: z9 & z10)

 
                      

