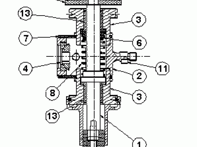
107 - QC Spindles
Description
Replacement of existing spindles (non Quick/Change) by new generation (Quick/Change type).
Key message
Reduce change over time
Machine application
Blowers S1 -- SBO 4/4 - SBO 6/6 - SBO 10/10 - SBO 16
Benefits
Contribute to reduce change over time thanks to Quick/Change equipment (in case of various preform necks).






