HS034 - TEST BOTTLE FOR IMPROVED CLEANING SYSTEM
Description
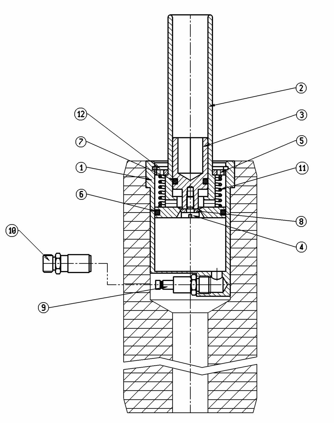
-Device designed to simulate bottle breaking during pressurization to test improved broken bottle cleaning system.
-If bottle enters the filler carousel and is compressed between the lifting cylinder and the filler valve, developing a load greater than 75 kg during pressurization, it will open the passage sealed by O-ring 8, lifting the cylinder further and allowing the fault to be detected by the carousel sensor.
-During testing, pressure in the filler tank should be no less than 200 kpa.
Key message
Secure final product quality
Machine application
Filler SIMONAZZI EUROSTAR RAA - Filler SIMONAZZI EUROSTAR 2000 REV - Filler SIMONAZZI STARLIGHT RBC - Filler SIMONAZZI EUROPA RAC
Benefits
Enhanced test capabilities


